|
| SCHLOSSEINBAU | 900 BR. / S 313 - S 319, SG 321 H,GT,GT-HD,UL,NF | | 31-07.035/ |
| MONTAJE CERRADURA | | | | | 01.03.11 |
|
Pos. | Teile-Nummer | Benennung | | Stueck | Description | Abmessung
| |
|
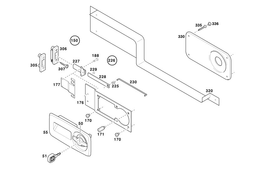
50 | A 002 750 57 84 | VERSCHLUSS | | 0000 | CERRADURA | | |
|
| | | SCHLIESSUNG ANGEBEN
| | | INDICAR CODIGO | | |
|
|
| | | SIEHE 36-02., KLIPSSYSTEM | | | |
|
|
|
51 | | SCHLUESSEL | | 0000 | LLAVES | | |
|
| | | SIEHE 36-02., SCHLIESSUNG ANGEBEN
| | | | | |
|
| . |
|
|
55 | A 629 760 01 60 A | TUERVERSCHLUSS M.GRIFF | | 0000 | | | |
|
| | | VERSCHLUSS KPL.
| | | | | |
|
|
| | | SCHLIESSUNG ANGEBEN | | | |
|
|
|
65 | 602P0333-002-00.2 | .DREHGRIFF | | 0000 | .MANIV GIRATORIA | | |
|
| | | AUSSEN
| | | EXTERIOR | | |
|
|
|
66 | 602K1608-003-00 | .HANDRAD | | 0000 | .RUEDA D/MANIOBRA | | |
|
| | | INNEN
| | | EN EL INTERIOR | | |
|
|
|
67 | 602K1650-004-02 | .ADAPTER | | 0000 | .ADAPTADOR | TYP B | |
|
|
69 | 602K1603-015-00 | .DICHTUNGSROSETTE | | 0000 | .ROSETA DE OBTURACION | | |
|
|
70 | 602K1629-001-00 | .MULDE | | 0000 | .CUBETA | | |
|
|
71 | 602K1619-003-00 | .GRIFFGEHAEUSE | | 0000 | .CAJA DEL ASIDERO | | |
|
|
72 | 602K1619-004-00 | .MITNEHMERSTUECK | | 0000 | .PIEZA DE ARRASTRE | | |
|
|
73 | 602K1619-005-00 | .ADAPTER | | 0000 | .ADAPTADOR | | |
|
|
74 | 602K1603-008-00 | .RIEGEL | | 0000 | .CERROJO | | |
|
|
77 | | .GEWINDESTIFT | | 0000 | .ESPARRAGO | | M 3X4X2,5 DIN926 |
|
|
78 | | .GEWINDESTIFT | | 0000 | .ESPARRAGO | | M 6X16 |
|
|
80 | | .KUGEL | | 0000 | .BOLA | | D 3,175 III DIN5401 |
|
|
81 | 602K1603-014-00 | .DRUCKFEDER | | 0000 | .RESOR DE PRESION | | |
|
|
82 | | .SPANNSTIFT | | 0000 | .PASADOR ELASTICO | | 2X10 DIN7343 |
|
|
83 | 602K1622-007-00 | .BEFESTIGUNGSKLAMMER | | 0000 | .PINZA FIJACION | | |
|
| | | GESTAENGECLIP
| | | | | |
|
|
|
84 | 602K1603-010-00 | .SCHENKELFEDER | | 0000 | .MUELLE C/PATILLAS | | |
|
|
85 | | .SCHEIBE | | 0000 | .DISCO | | A 4,3 DIN9021 |
|
|
86 | | .ZAHNSCHEIBE | | 0000 | .ARANDELA DENTADA | | A 4,3 DIN6797 |
|
|
87 | | .FLACHKOPFSCHRAUBE | | 0000 | .TORNILLO CABEZA PLANA | | M 4X8 DIN85 |
|
|
91 | A 000 725 03 20 | .GUMMIRAHMEN | | 0001 | .MARCO DE GOMA | | |
|
|
95 | 602K1650-014-00.3 | .BLINDSTOPFEN | | 0000 | .TAPON CIEGO | | |
| . |
|
|
150 | 325-63.35.000-05 - | SCHLOSS-EINBAU KPL. | 33) | 0000 | | | |
|
| | | SCHLIESSUNG
| | | CODIGO CIERRE | | |
|
|
| | | BN | | | |
|
|
|
150.1 | 327-63.35.000-01 - | SCHLOSS-EINBAU KPL. | 34) | 0000 | | | |
|
| | | SCHLIESSUNG
| | | CODIGO CIERRE | | |
|
|
| | | BN | | | |
|
| . |
|
|
170 | 325-63.35.133-05 E | .AUFNAHME | | 0005 | .ALOJAMIENTO | | |
|
|
171 | 325-63.35.134-05 E | .AUFNAHME | | 0001 | .ALOJAMIENTO | | |
| . |
|
|
176 | 325-63.35.120-05 D | .UNTERLAGE | 33) | 0001 | .PLACA DE ASIENTO | | |
|
|
177 | 327-63.35.121-01 D | .UNTERLAGE | 34) | 0001 | .PLACA DE ASIENTO | | |
| . |
|
|
188 | 0.200.084.235 | .ZYLINDERSCHRAUBE | | 0002 | .TORN.CAB.CILINDRICA | M 5X10 TORX | DAE 84 4.8 |
| . |
|
|
225 | A 005 988 76 78 | .CLIP | | 0001 | .GRAPA | | |
|
| | | GESTAENGE
| | | VARILLAJE | | |
|
| . |
|
|
226 | 325-63.35.110-05 - | .SCHLIESSGESTAENGE KPL. | | 0000 | . | | |
|
|
227 | A 629 733 00 64 | ..RIEGELFUEHRUNG | | 0001 | ..GUIA DE PESTILLO | | |
|
|
228 | 325-63.35.112-05 E | ..RIEGEL | | 0001 | ..CERROJO | | |
|
|
229 | 325-63.35.114-05 E | ..MAGNETSCHEIBE | | 0001 | .. | | |
| . |
|
|
230 | 325-63.35.131-05 E | .STANGE | | 0001 | .VASTAGO | | |
| . |
|
|
305 | 325-63.34.240-05 E | SCHLIESSBLECH | 21) | 0001 | CHAPA DE CIERRE | | |
|
| | | TUERSTEUERUNG
| | | MANDO DE PUERTAS | | |
|
|
| | | ETS | | | |
|
|
|
306 | 325-63.34.230-05 E | SCHLIESSBLECH | 22) | 0001 | CHAPA DE CIERRE | MIT REED-KONTAKT | |
|
| | | TUERSTEUERUNG
| | | MANDO DE PUERTAS | | |
|
|
| | | HAND | | | |
|
| . |
|
|
307 | 0.400.966.220 | LINSENSENKSCHRAUBE | | 0002 | TOR D/CZAVE ENT | M 6X30 TORX-T30 | DAE 9664.8 |
| . |
|
|
320 | 325-63.00.511-05 A | SCHLOSSINNENABDECKUNG | 33) | 0001 | | | |
|
|
330 | 315-72.14.215-02 C | TUERSCHLOSSABDECKUNG | 34) | 0001 | CUBIERTA DE CERRADURA DE PUERTA | | |
| . |
|
|
335 | 0.011.011.203 | LINSEN-KAPPENBLECHSCHRAUBE | | 0004 | TORNILLO ROSCACHAPA ALOMADO | ST 4,2X16-C-TORX | DAE 7981 A3C |
|
|
336 | 0.011.011.309 | KAPPE | | 0004 | CAPERUZA | FORM F KOPFD. 8 | |
| . |
|
| | 21
| | OHNE REED-KONTAKT | | |
| | | |
|
|
| | 22
| | MIT REED-KONTAKT | | |
| | | |
|
|
| | 33
| | S 313 - S 319, SG 321 H, UL, NF | | |
| | | |
|
|
| | 34
| | S 313 - 319 GT, GT-HD, UL-GT | | |
| | | |
|