Ersatzteilliste fuer 35-03.012
Bild-Nr. 35-03.012
35-03.012/A
SKX 2/400 R 134 A (SPIRALVERDICHTER)
35-03.012/B
VARIOCOMP
Bildtafel-Nr. 35-03.012/A
Bildtafel-Nr. 35-03.012/B
KOMPRESSOR
SPIRALVERDICHTER SCX 2 / 400 R 134 A S 309
35-03.012/
COMPRESSOR
08.12.04
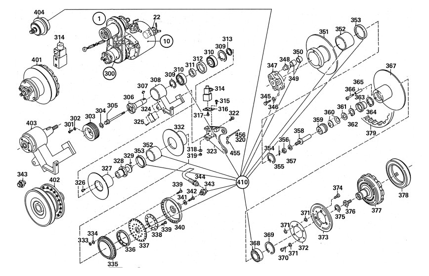
Pos.
Teile-Nummer
Benennung
Stueck
Description
Abmessung
1
315-46.71.100-01 A
SPIRALVERDICHTER KPL.
21)
0000
SCX 2/400
1.1
309-46.71.100-01
SPIRALVERDICHTER KPL.
22)
0000
.
10
8.754.443.000 A
.
SPIRALVERDICHTER KPL.
0001
.
SCX 2/400
ERSATZ POS. 10.1
10.1
8.754.562.000 A
.
SPIRALVERDICHTER KPL.
0001
.
SCX 2/400
.
20
8.754.443.620
..
GLEITRINGDICHTUNG
0001
..BEARING RING SEAL
BAUSATZ
CONSTRUCTION KIT
22
8.754.419.496 E
..
WAERMESCHUTZTHERMOSTAT
0001
..HEAT PROTECTION THERMOSTAT
.
300
8.754.420.000 A
.
VARIOCOMP KPL.
0001
.
BIS ... ERSATZ POS. 300.1
300.1
8.754.567.000 A
.
VARIOCOMP KPL.
0001
.
303
..
KEILRIEMENSCHEIBE
0001
..V-BELT PULLEY
D=144
BIS ...
303.1
..
KEILRIEMENSCHEIBE
0001
..V-BELT PULLEY
D=162,4
AB ...
.
310
32.007
..
KUGELLAGER
0002
..BALL BEARING
314
8.754.424.512
..
PROPORTIONALVENTIL
0001
..PROPORTIONAL VALV
321
8.754.448.673
..
IMPULSGEBER
0001
..PULSE GENERATOR
ERSATZ POS. 456
.
322
A 355 542 02 73
..
BUCHSE
0001
..BUSHING
337
127.005
..
MEMBRANE
0001
..DIAPHRAGM
343
8.754.448.582
..
DREHANSCHLUSS
0001
..ROTARY CONNECTION
.
349
A 000 835 04 17
..
ABSTANDSBUCHSE
0003
..SPACER BUSH
350
A 000 835 05 17
..
ABSTANDSBUCHSE
0003
..SPACER BUSH
352
A 000 835 06 17
..
ABSTANDSBUCHSE
0002
..SPACER BUSH
353
46.001
..
ABSTREIFER
0002
..SCRAPER/WIPER
368
33.009
..
KUGELLAGER
0001
..BALL BEARING
.
378
8.754.448.654
..
MAGNET
0001
..MAGNET
379
4.761.867.100
..
KEILRIEMEN
0001
..V-BELT
RHL 33/14X1188
.
401
8.754.448.574
..
ABTRIEBSCHEIBE KPL.
0001
..
402
8.754.448.575
..
ANTRIEBSCHEIBE KPL.
0001
..
.
403
8.754.448.573
..
HALTEARM KPL.
0001
..
.
404
8.754.448.584
..
FEDERPAKET KPL.
0001
..
.
410
8.754.448.583
..
REPARATUREINHEIT KPL.
0001
..
.
450
0.200.931.060
.
SECHSKANTSCHRAUBE
0004
.SCREW
M 12X50
DIN931 8.8
451
0.200.934.015
.
SECHSKANTMUTTER
0004
.NUT
M 12
DIN934
452
N 000125 013022
.
SCHEIBE
0008
.DISK
13
DIN 125
453
0.200.128.003
.
FEDERRING
0004
.SPRING WASHER
A 12
DIN128
454
0.200.912.243
.
ZYLINDERSCHRAUBE
0002
.CYLINDR HEAD SCR
M 8X12
DIN912
455
A 355 542 02 73
.
BUCHSE
0001
.BUSHING
.
456
A 002 540 65 17 D
.
DREHZAHLGEBER
0001
.REV TRANSMITTER
21
PROTOTYPEN
22
AB 1.FAHRZEUG (AB 1994 NUR NOCH KOLBENKOMPRESSOR)
Zurück zur Bildauswahl 35-03.012.