Ersatzteilliste fuer 01-21.074
Bild-Nr. 01-21.074
01-21.074/A
GENERATOR D 2865 LOH EURO I
Bildtafel-Nr. 01-21.074/A
GENERATOR
01-21.074/A
ALTERNADOR
16.03.98
Pos.
Teile-Nummer
Benennung
Stueck
Denomination
Abmessung
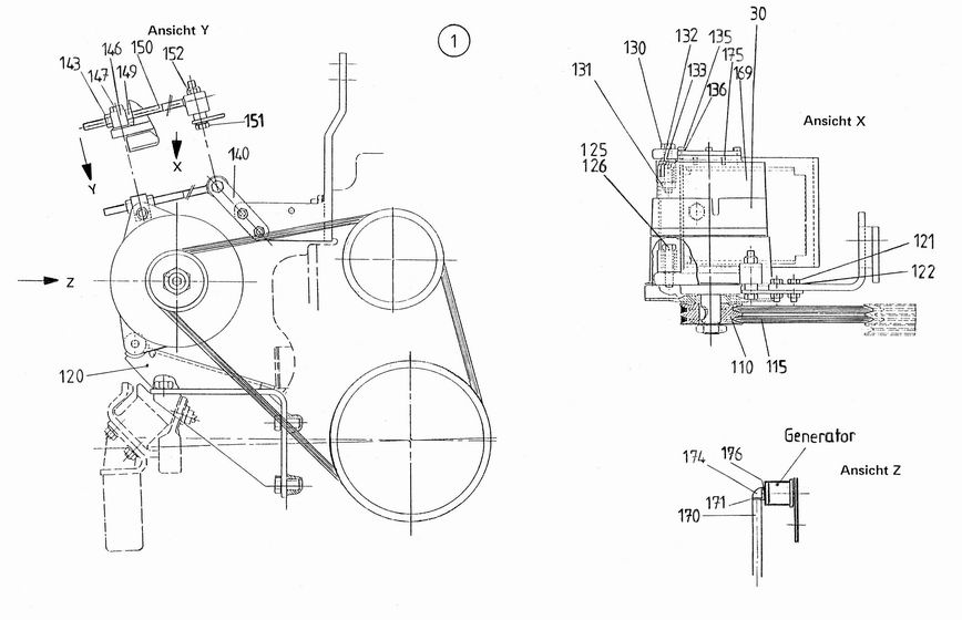
1
350-32.10.000-02
LICHTMASCHINEN-EINBAU
0001
MONTAJE ALTERNADOR
140 AMP. 28 VOLT
.
30
7.421.354.000
.
GENERATOR KPL.
0001
140 AMP. 28 VOLT
36
7.421.336.001
..
ELEKTRONIK FELDREGLER KPL.
0001
120 A
37
7.421.350.001
...
KOHLEBUERSTENSATZ
0001
...JUEGO DE ESCOBILLAS
38
(1 125 827 013)
..
ANTRIEBSLAGER
0001
..COJ D/ACCNMTO
39
7.421.345.003
..
SCHLEIFRINGLAGER
0001
..COJ.ANILLO COLECTOR
40
7.421.333.005
..
LUEFTER
0001
..VENTILADOR
41
7.421.329.007
..
DICHTRAHMEN
0001
..REBORDE OBTURADOR
47
7.421.341.002
..
DRUCKFEDER
0002
..RESOR DE PRESION
48
7.267.213.000
..
ENTSTOERKONDENSATOR
0001
49
7.421.121.000
..
TUELLE
0001
..BOQUILLA
53
(1 121 015 011)
..
DICHTUNG
0001
..JUNTA OBTURANTE
54
(1 123 433 004)
..
KOMBI-SCHRAUBE
0003
56
(2 916 699 083)
..
FEDERRING
0004
..ANILLO ELASTICO
6
57
(2 916 011 013)
..
UNTERLEGSCHEIBE
0004
..ARANDELA SUPL
6,4 DIN 433
58
(1 123 429 125)
..
LINSENSCHRAUBE
0004
..TORNILLO ALOMADO
59
(1 123 433 005)
..
KOMBI-SCHRAUBE
0003
60
(2 912 452 191)
..
LINSENSCHRAUBE
0001
..TORNILLO ALOMADO
M 6X10 DIN 7985 5.8
61
(1 120 283 000)
..
RADIALDICHTRING
0001
..RETEN RADIAL
62
(2 916 600 016)
..
SPRENGRING
0001
..ANILLO ELASTICO
DIN 9045-30
63
7.421.345.008
..
LUFTANSAUGDECKEL
0001
64
(2 912 212 207)
..
STIFTSCHRAUBE
0004
..TORN PRISIONERO
M 6X35 DIN 835 5.6
66
(2 120 905 000)
..
RILLENKUGELLAGER
0001
..RODAMTO.BOLILL.HILERA
67
(1 120 033 009)
..
ABDECKPLATTE
0001
..PLACA DE CUBIERTA
68
(1 120 114 002)
..
STUETZRING
0001
..ANILLO DE APOYO
69
(1 124 037 004)
..
LAEUFER
0001
..ROTOR
70
(1 124 304 018)
..
SCHLEIFRING
0001
..ANILLO COLECTOR
71
(1 120 200 015)
..
DISTANZRING
0001
..ANILLO SEPARADOR
72
(1 900 910 024)
..
RILLENKUGELLAGER
0001
..RODAMTO.BOLILL.HILERA
73
(1 125 047 007)
..
STAENDER
0001
..ESTATOR
74
(1 127 320 973)
..
GLEICHRICHTER
0001
..RECTIFICADOR
76
8.311.998.755
..
TEILESATZ
0001
..JUEGO DE PIEZAS
77
8.311.998.756
..
TEILESATZ
0001
..JUEGO DE PIEZAS
KLEMME B+,B-,D+,W
.
110
129-32.10.116-12
RIEMENSCHEIBE
0001
POLEA D/TRANSM
2-RILLIG D 92
.
115
SCHMALKEILRIEMEN
CORREA 'V' ANGOSTA
SIEHE 01-19
.
120
350-32.10.200-01
LICHTMASCHINENTRAEGER KPL.
0001
121
0.200.933.040
SECHSKANTSCHRAUBE
0002
TORN D/CZAHEX
M 10X30 DIN 933 8.8
122
0.200.125.010
SCHEIBE
0002
DISCO
10,5 DIN 125
125
0.011.320.011
SICHERUNGSSCHEIBE
0001
ARANDELA DE SEGUR
S 12
126
0.200.960.008
SECHSKANTSCHRAUBE
0001
TORN D/CZAHEX
M 12X1,5X60 DIN 960 8.8
.
130
0.200.931.067
SECHSKANTSCHRAUBE
0002
TORN D/CZAHEX
M 12X70 DIN 931 8.8
131
0.200.980.002
KLEMMUTTER
0002
TUERCA PRISIONERA
VM 12 DAE 980 8
132
0.200.934.004
SECHSKANTMUTTER
0004
TUERCA
M 6 DIN 934 8
133
0.200.125.004
SCHEIBE
0004
DISCO
6,4 DIN 125
135
0.200.084.213
ZYLINDERSCHRAUBE
0003
TORN.CAB.CILINDRICA
M 6 X 16 TORX-T30 AE/ 84 4.8 A2C
136
0.200.125.004
SCHEIBE
0003
DISCO
6,4 DIN 125
.
140
350-32.10.110-02
HALTER
0001
SOPORTE
143
0.200.934.015
SECHSKANTMUTTER
0001
TUERCA
M 12 DIN 934 8
146
139-31.10.152-02
KLEMMSTUECK
0001
PIEZA DE FIJACION
147
179-32.10.211-11
SECHSKANTSCHRAUBE
0001
TORN D/CZAHEX
M 12X1,5X50
149
139-32.10.151-02
SPANNMUTTER
0001
TUERCA TENSORA
6 KT. 19X35
150
179-32.10.130-12
SPANNSPINDEL
0001
HUSILLO TENSOR
151
0.200.931.067
SECHSKANTSCHRAUBE
0001
TORN D/CZAHEX
M 12X70 DIN 931 8.8
152
0.200.980.002
KLEMMUTTER
0001
TUERCA PRISIONERA
VM 12 DAE 980 8
.
169
7.421.331.001
ANSAUGDECKEL
0001
TAPA DE ASPIRACION
170
4.531.294.001
LUFTANSAUGSCHLAUCH
0001
MANGUERA AIRE
D 70X1200 LG.
171
6.836.356.000
SCHLAUCHSCHELLE
0002
ABRAZADERA P.MANGUERA
S 75/15 SKZ
174
7.421.319.018
ANSAUGKRUEMMER
0001
CODO DE ASPIRACION
175
0.200.965.205
SENKSCHRAUBE
0004
TORNILLO AVELLANADO
M 6X16 TORX-T30 DAE 965 4.8
176
179-32.10.111-26
ZWISCHENFLANSCH
0001
BRIDA INTERMEDIA
D 102 / 63
Zurueck zur Bildauswahl 01-21.074.